Grille & Components for 2018 Ford F-350 Super Duty
Vehicle
2018 Ford F-350 Super Duty
Change Vehicle
Categories
- Aperture Panel
- Back Panel
- Box Assembly
- Bumper & Components - Front
- Bumper & Components - Rear
- Cab Assembly
- Cargo Area
- Carrier & Components
- Cluster & Switches
- Cowl
- Door & Components
- Doors
- Ducts
- Electrical Components
- Exterior Trim - Cab
- Exterior Trim - Fender
- Exterior Trim - Front Door
- Exterior Trim - Pick UP Box
- Exterior Trim - Rear Door
- Exterior Trim - Tail Gate
- Fender
- Fender & Components
- Floor - Cab
- Floor - Pick UP Box
- Floor Pan
- Frame & Components
- Front & Side Panels
- Front Console
- Front Seat Components
- Glass - Front Door
- Glass - Rear Door
- Glass - Windshield
- Glass & Hardware - Back
- Glove Box
- Grille & Components
- Hardware, Fasteners & Fittings
- Hinge Pillar
- Hood & Components
- Inner Components
- Instrument Panel
- Instrument Panel Components
- Interior Trim - Cab
- Interior Trim - Front Door
- Interior Trim - Rear Door
- Interior Trim - Side Panel
- Jack & Components
- Labels
- Lock & Hardware
- Master Cylinder - Components On Dash Panel
- Mirrors
- Outside Mirrors
- Overhead Console
- Radiator Support
- Rear Seat Components
- Roof
- Roof & Components
- Roof Lamps
- Running Board
- Seats
- Sensors
- Sound System
- Steering Wheel
- Storage Compartment
- Sunroof
- Switches, Solenoids & Actuators
- Tail Gate
- Tracks & Components
- Trailer Hitch Components
- Wiper & Washer Components
- ABS Components
- Air Bag Components
- Alternator
- Alternator/Generator & Related Components
- Antenna & Radio
- Anti-Theft Components
- Anti-Theft System
- Automatic Transmission
- Battery
- Battery & Related Components
- Doors
- Electrical Components
- Flasher Units, Fuses, & Circuit Breakers
- Fog Lamps
- Front Seat Belts
- Fuse & Relay
- Headlamp Components
- High Mounted Stop Lamp
- Horn
- Identification Lamps
- Ignition System
- Instruments & Gauges
- Keyless Entry Components
- License Lamps
- Lighting - Exterior
- Powertrain Control
- Rear Seat Belts
- Relays
- Senders
- Sensors
- Starter
- Starter & Related Components
- Switches
- Switches, Solenoids & Actuators
- Tail Lamps
- Tire Pressure Monitor Components
- Wipers
- Wiring Harness
- A/C Accumulator/Receiver Drier
- A/C Clutch & Compressor
- A/C Condenser & Evaporator
- A/C Flow Restrictors
- Condenser, Compressor & Lines
- Controls
- Evaporator & Heater Components
- Filters
- Gaskets & Sealing Systems
- Hardware, Fasteners & Fittings
- Heater
- Hoses & Pipes
- Motors, Core, Case & Related Components
- Sensors
- Switches, Solenoids & Actuators
- Aperture Panel
- Back Panel
- Box Assembly
- Bumper & Components - Front
- Bumper & Components - Rear
- Cab Assembly
- Cargo Area
- Carrier & Components
- Cluster & Switches
- Cowl
- Door & Components
- Doors
- Ducts
- Electrical Components
- Exterior Trim - Cab
- Exterior Trim - Fender
- Exterior Trim - Front Door
- Exterior Trim - Pick UP Box
- Exterior Trim - Rear Door
- Exterior Trim - Tail Gate
- Fender
- Fender & Components
- Floor - Cab
- Floor - Pick UP Box
- Floor Pan
- Frame & Components
- Front & Side Panels
- Front Console
- Front Seat Components
- Glass - Front Door
- Glass - Rear Door
- Glass - Windshield
- Glass & Hardware - Back
- Glove Box
- Grille & Components
- Hardware, Fasteners & Fittings
- Hinge Pillar
- Hood & Components
- Inner Components
- Instrument Panel
- Instrument Panel Components
- Interior Trim - Cab
- Interior Trim - Front Door
- Interior Trim - Rear Door
- Interior Trim - Side Panel
- Jack & Components
- Labels
- Lock & Hardware
- Master Cylinder - Components On Dash Panel
- Mirrors
- Outside Mirrors
- Overhead Console
- Radiator Support
- Rear Seat Components
- Roof
- Roof & Components
- Roof Lamps
- Running Board
- Seats
- Sensors
- Sound System
- Steering Wheel
- Storage Compartment
- Sunroof
- Switches, Solenoids & Actuators
- Tail Gate
- Tracks & Components
- Trailer Hitch Components
- Wiper & Washer Components
- ABS Components
- Air Bag Components
- Alternator
- Alternator/Generator & Related Components
- Antenna & Radio
- Anti-Theft Components
- Anti-Theft System
- Automatic Transmission
- Battery
- Battery & Related Components
- Doors
- Electrical Components
- Flasher Units, Fuses, & Circuit Breakers
- Fog Lamps
- Front Seat Belts
- Fuse & Relay
- Headlamp Components
- High Mounted Stop Lamp
- Horn
- Identification Lamps
- Ignition System
- Instruments & Gauges
- Keyless Entry Components
- License Lamps
- Lighting - Exterior
- Powertrain Control
- Rear Seat Belts
- Relays
- Senders
- Sensors
- Starter
- Starter & Related Components
- Switches
- Switches, Solenoids & Actuators
- Tail Lamps
- Tire Pressure Monitor Components
- Wipers
- Wiring Harness
- A/C Accumulator/Receiver Drier
- A/C Clutch & Compressor
- A/C Condenser & Evaporator
- A/C Flow Restrictors
- Condenser, Compressor & Lines
- Controls
- Evaporator & Heater Components
- Filters
- Gaskets & Sealing Systems
- Hardware, Fasteners & Fittings
- Heater
- Hoses & Pipes
- Motors, Core, Case & Related Components
- Sensors
- Switches, Solenoids & Actuators
Browse Categories
Select category
- Aperture Panel
- Back Panel
- Box Assembly
- Bumper & Components - Front
- Bumper & Components - Rear
- Cab Assembly
- Cargo Area
- Carrier & Components
- Cluster & Switches
- Cowl
- Door & Components
- Doors
- Ducts
- Electrical Components
- Exterior Trim - Cab
- Exterior Trim - Fender
- Exterior Trim - Front Door
- Exterior Trim - Pick UP Box
- Exterior Trim - Rear Door
- Exterior Trim - Tail Gate
- Fender
- Fender & Components
- Floor - Cab
- Floor - Pick UP Box
- Floor Pan
- Frame & Components
- Front & Side Panels
- Front Console
- Front Seat Components
- Glass - Front Door
- Glass - Rear Door
- Glass - Windshield
- Glass & Hardware - Back
- Glove Box
- Grille & Components
- Hardware, Fasteners & Fittings
- Hinge Pillar
- Hood & Components
- Inner Components
- Instrument Panel
- Instrument Panel Components
- Interior Trim - Cab
- Interior Trim - Front Door
- Interior Trim - Rear Door
- Interior Trim - Side Panel
- Jack & Components
- Labels
- Lock & Hardware
- Master Cylinder - Components On Dash Panel
- Mirrors
- Outside Mirrors
- Overhead Console
- Radiator Support
- Rear Seat Components
- Roof
- Roof & Components
- Roof Lamps
- Running Board
- Seats
- Sensors
- Sound System
- Steering Wheel
- Storage Compartment
- Sunroof
- Switches, Solenoids & Actuators
- Tail Gate
- Tracks & Components
- Trailer Hitch Components
- Wiper & Washer Components
- ABS Components
- Air Bag Components
- Alternator
- Alternator/Generator & Related Components
- Antenna & Radio
- Anti-Theft Components
- Anti-Theft System
- Automatic Transmission
- Battery
- Battery & Related Components
- Doors
- Electrical Components
- Flasher Units, Fuses, & Circuit Breakers
- Fog Lamps
- Front Seat Belts
- Fuse & Relay
- Headlamp Components
- High Mounted Stop Lamp
- Horn
- Identification Lamps
- Ignition System
- Instruments & Gauges
- Keyless Entry Components
- License Lamps
- Lighting - Exterior
- Powertrain Control
- Rear Seat Belts
- Relays
- Senders
- Sensors
- Starter
- Starter & Related Components
- Switches
- Switches, Solenoids & Actuators
- Tail Lamps
- Tire Pressure Monitor Components
- Wipers
- Wiring Harness
- A/C Accumulator/Receiver Drier
- A/C Clutch & Compressor
- A/C Condenser & Evaporator
- A/C Flow Restrictors
- Condenser, Compressor & Lines
- Controls
- Evaporator & Heater Components
- Filters
- Gaskets & Sealing Systems
- Hardware, Fasteners & Fittings
- Heater
- Hoses & Pipes
- Motors, Core, Case & Related Components
- Sensors
- Switches, Solenoids & Actuators
- Aperture Panel
- Back Panel
- Box Assembly
- Bumper & Components - Front
- Bumper & Components - Rear
- Cab Assembly
- Cargo Area
- Carrier & Components
- Cluster & Switches
- Cowl
- Door & Components
- Doors
- Ducts
- Electrical Components
- Exterior Trim - Cab
- Exterior Trim - Fender
- Exterior Trim - Front Door
- Exterior Trim - Pick UP Box
- Exterior Trim - Rear Door
- Exterior Trim - Tail Gate
- Fender
- Fender & Components
- Floor - Cab
- Floor - Pick UP Box
- Floor Pan
- Frame & Components
- Front & Side Panels
- Front Console
- Front Seat Components
- Glass - Front Door
- Glass - Rear Door
- Glass - Windshield
- Glass & Hardware - Back
- Glove Box
- Grille & Components
- Hardware, Fasteners & Fittings
- Hinge Pillar
- Hood & Components
- Inner Components
- Instrument Panel
- Instrument Panel Components
- Interior Trim - Cab
- Interior Trim - Front Door
- Interior Trim - Rear Door
- Interior Trim - Side Panel
- Jack & Components
- Labels
- Lock & Hardware
- Master Cylinder - Components On Dash Panel
- Mirrors
- Outside Mirrors
- Overhead Console
- Radiator Support
- Rear Seat Components
- Roof
- Roof & Components
- Roof Lamps
- Running Board
- Seats
- Sensors
- Sound System
- Steering Wheel
- Storage Compartment
- Sunroof
- Switches, Solenoids & Actuators
- Tail Gate
- Tracks & Components
- Trailer Hitch Components
- Wiper & Washer Components
- ABS Components
- Air Bag Components
- Alternator
- Alternator/Generator & Related Components
- Antenna & Radio
- Anti-Theft Components
- Anti-Theft System
- Automatic Transmission
- Battery
- Battery & Related Components
- Doors
- Electrical Components
- Flasher Units, Fuses, & Circuit Breakers
- Fog Lamps
- Front Seat Belts
- Fuse & Relay
- Headlamp Components
- High Mounted Stop Lamp
- Horn
- Identification Lamps
- Ignition System
- Instruments & Gauges
- Keyless Entry Components
- License Lamps
- Lighting - Exterior
- Powertrain Control
- Rear Seat Belts
- Relays
- Senders
- Sensors
- Starter
- Starter & Related Components
- Switches
- Switches, Solenoids & Actuators
- Tail Lamps
- Tire Pressure Monitor Components
- Wipers
- Wiring Harness
- A/C Accumulator/Receiver Drier
- A/C Clutch & Compressor
- A/C Condenser & Evaporator
- A/C Flow Restrictors
- Condenser, Compressor & Lines
- Controls
- Evaporator & Heater Components
- Filters
- Gaskets & Sealing Systems
- Hardware, Fasteners & Fittings
- Heater
- Hoses & Pipes
- Motors, Core, Case & Related Components
- Sensors
- Switches, Solenoids & Actuators
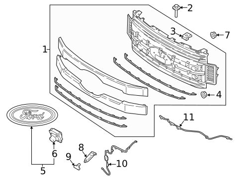
1
- $770.61Grille AssemblyFordFord Parts are the Only parts designed and built to the specific Standards of Ford Motor Company and are the Only parts recommended for use in your Ford or Lincoln vehicle. 2018-19, 2 pc chrome or painted Type 2, gloss Black.
- $482.50Grille AssemblyFord2 pc chrome or painted type 2. painted. 2018-19, lariat, king ranch, accent color. 2018-19 LARIAT. painted.
- $1,242.62Grille AssemblyFordFord Parts are the Only parts designed and built to the specific Standards of Ford Motor Company and are the Only parts recommended for use in your Ford or Lincoln vehicle. 2018-19, 2 pc chrome or painted Type 2, chrome/chrome.
5
- $70.43EmblemFord2 pc grille, type 1, without front camera. 2 pc chrome or painted type 2. without front camera. 2018-19 XL,XLT. without front camera. 2018-19 LARIAT. without front camera. 2018-19 platinum, limited. without front camera.
- $795.42EmblemFord5 pc satin aluminum, with front camera. 2 pc chrome or painted type 2. with front camera. 2018-19 XL,XLT. with front camera. 2018-19 LARIAT. with front camera. 2018-19 platinum, limited. with front camera.
No.
Part # / Description / Price
Price
1
Grille Assembly
Ford
Ford Description: Ford Parts are the Only parts designed and built to the specific Standards of Ford Motor Company and are the Only parts recommended for use in your Ford or Lincoln vehicle. 2018-19, 2 pc chrome or painted Type 2, gloss Black.
MSRP $1,170.25
$770.61
MSRP $1,170.25
$770.61
1
Grille Assembly
Ford
Ford Description: 2 pc chrome or painted type 2. painted. 2018-19, lariat, king ranch, accent color. 2018-19 LARIAT. painted.
MSRP $732.73
$482.50
MSRP $732.73
$482.50
1
Grille Assembly
Ford
Ford Description: Ford Parts are the Only parts designed and built to the specific Standards of Ford Motor Company and are the Only parts recommended for use in your Ford or Lincoln vehicle. 2018-19, 2 pc chrome or painted Type 2, chrome/chrome.
MSRP $1,421.76
$1,242.62
MSRP $1,421.76
$1,242.62
3
Switch Housing Clip
Ford
Ford Notes: PARTS: Part included with grille assembly.
MSRP $16.00
$10.72
Sold in Pack of 4
MSRP $16.00
$10.72
Sold in Pack of 4
4
Emblem Nut
Ford
Ford Notes: PARTS: Part included with grille assembly.
MSRP $20.00
$13.40
Sold in Pack of 4
MSRP $20.00
$13.40
Sold in Pack of 4
5
Grille Emblem
Ford
Ford Description: 2 pc grille, type 1, without front camera. 2 pc chrome or painted type 2. without front camera. 2018-19 XL,XLT. without front camera. 2018-19 LARIAT. without front camera. 2018-19 platinum, limited. without front camera.
MSRP $105.00
$70.43
MSRP $105.00
$70.43
5
Grille Emblem
Ford
Ford Description: 5 pc satin aluminum, with front camera. 2 pc chrome or painted type 2. with front camera. 2018-19 XL,XLT. with front camera. 2018-19 LARIAT. with front camera. 2018-19 platinum, limited. with front camera.
MSRP $1,207.93
$795.42
MSRP $1,207.93
$795.42
6
Front Camera
Ford
Ford Notes: PARTS: Part included with emblem with front camera.
Description: Ford Parts are the Only parts designed and built to the specific Standards of Ford Motor Company and are the Only parts recommended for use in your Ford or Lincoln vehicle. Front. 2020-21, platinum. 2020-21, king ranch. F250, f350, f450, f550. 5 pc satin aluminum or chrome. 2 pc chrome or painted Type 2. 2018-19, satin aluminum or chrome.
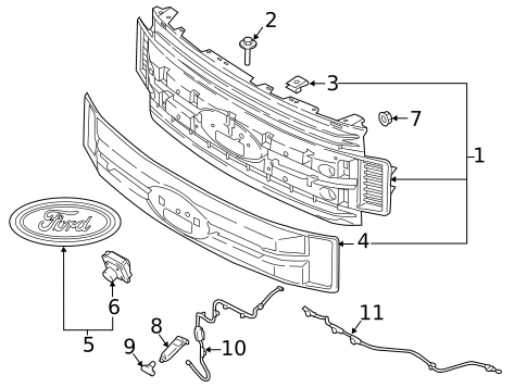
1
- $220.28Grille AssemblyFordFord Parts are the Only parts designed and built to the specific Standards of Ford Motor Company and are the Only parts recommended for use in your Ford or Lincoln vehicle. 2018-19, 2 pc grille, Type 1, Gray/Black.
- $810.01Grille AssemblyFord2 pc grille, type 1. chrome. Xl,xlt, 2018-19, chrome.
No.
Part # / Description / Price
Price
1
Grille Assembly
Ford
Ford Description: Ford Parts are the Only parts designed and built to the specific Standards of Ford Motor Company and are the Only parts recommended for use in your Ford or Lincoln vehicle. 2018-19, 2 pc grille, Type 1, Gray/Black.
1
Grille Assembly
Ford
Ford Description: 2 pc grille, type 1. chrome. Xl,xlt, 2018-19, chrome.
MSRP $922.56
$810.01
MSRP $922.56
$810.01
4
Outer Grille
Ford
Ford Notes: PARTS: Part included with grille assembly.
Description: 2 pc grille, type 1. Outer grille. Xl,xlt, 2018-19, chrome.
MSRP $317.83
$210.72
MSRP $317.83
$210.72
10
Washer Hose
Ford
Ford Description: 2018-19, 2 pc grille, type 1. 2 pc chrome or painted type 2. Washer hose. Xl,xlt, 2018-19. 2018-19 lariat. 2018-19 platinum, limited.
MSRP $58.12
$40.10
MSRP $58.12
$40.10
No.
Part # / Description / Price
Price
2
MSRP $16.00
$10.72
Sold in Pack of 4
11
MSRP $20.00
$13.40
Sold in Pack of 4
13
Spray Jet Cap
Ford
Ford Description: 2 pc chrome or painted type 2. 2018-19, satin aluminum or chrome. 2020-22, platinum. 2020-22, lariat. 2020-22 king ranch. Xl,xlt, 2018-19. 2018-19 lariat. 2020-22 xl, xlt. 2018-19 platinum, limited.
MSRP $20.17
$15.31
MSRP $20.17
$15.31

